Schooners have always been the most beautiful ships. Gliding by, each sail seems to lead to the next larger one from stem to stern. The high gaffs have a sentimental echo of the square sail days, leading the imagination to believe what is passing by is vintage time surrounded by a disappearing wake. And long booms remind our memories of the days of great yachts.
Some boats get realistic names like FLATTIE; schooners receive names like LADY OF BERMUDA.
While the old time shipwrights said a schooner shouldn’t be built less than 30 feet, designers today have created boats in the 15-30 foot range which are beautiful. We will look at several of these little schooners.
Bluestone ----------------------
Gavin Atkin
LOA 19’ 8
(Trailerable length the same)
Beam 5’8”
Sail Area 140 square feet
Displacement 1350 pounds
This design by the simple boat guru Gavin Atkin was in response to a design competition. It is a light pocket cruiser, in the epoxy lapstrake style.
Gavin says it’s a ‘yawl that’s nearly a schooner. The schooner that’s nearly a yawl and the periauger with two similar sails has been popular small boat rigs in many places.’
You can see with the tall sprit sails, loose-footed, BLUESTONE has good windward performance without complicating the rig and lines. This schooner is easy to set up and go sailing.

Bluestone’s trailering weight is only 700 pounds. This means any standard trailer can take it anywhere. An advantage of this is it rows more easily than most trailerable cruisers.
What is unique about Bluestone are the twin daggerboards set off-center. In England many small boaters camp like to camp up a creek rather than near the beach. So the two boards in the up position act as legs when the tides come and go. Gavin says, ‘this may seem a curious habit given the tides seen in the British Isles, but may be due to the traditional hostility of the British landowner.’ What attracted me was the position of the boards.
 |
Here we see no real board trunk, but an anchor at the planks and at the deck. I think the lower stop gives some strength to the board as well as keep it as a prop. This is a cool idea, which should be used more often. |
You can see from the drawing on the previous page, Bluestone has a long skeg. For offshore work it probably needs an endplate on the rudder or a deeper rudder.
While the keel is ballasted, this boat is light and not self-righting. So, forward of the mainmast and astern of the cockpit, the compartments have been taken for buoyancy. This limits the space to store stuff. The cabin is low to keep it under the wind, with the two bunks taking up most of the space. As a result, any camp cruising will have to be done with a tarp tent over the main boom, with the cooking done in the cockpit.
As an inshore cruiser, Gavin has specific instructions for adding ballast. The plans remind the builder Bluestone is a relatively complex building style. It is best sailed flat and the accommodations have been kept minimal to aid performance.
If you’re thinking this lapstrake design with the off-center boards would be difficult to build, Gavin agrees. He has drawn a chine version of Bluestone. The sides take three sheets of plywood for the panels and at least two more sheets for the frames.

I’ve always liked this style of boat. I think it makes plywood look good, and the bilge panel can take a slight arch to ease the flow of water. Ed Monk used to say three panel boats sail as well as round bilged carvel craft, anyway.
The foresail is loose-footed and overlapping the main. This means it can be released in case of wind gusts. As the sails are tall and somewhat narrow, you won’t be overpowered by sudden stormy weather, while the high peak enhances performance on most points of sail.
If you’d like a more traditional schooner look, you can reduce the height of the foremast and add a little jib. And I think a handmade barrel with a rope around it would look very cool. It would make a place to store extra stuff without taking room below. It might even be a good place for the family cat or dog.
Firecrest 15--------------------
Selway-Fisher Designs
LOD 15’
Beam 5’
Sail area 110 square feet
Approximate weight 450 pounds
This is my favorite small schooner, probably because of the traditional lug rig. Gaffs with jaws and lifts might be work on such a small craft, yet the lug rig looks just right. It’s also easy to manage and it can be dropped if the wind storms up in a hurry.
The great advantage of a schooner has always been you can drop the foresail and still get where you’re going. You could drop both sails, put up a jib and staysail and still get where you’re going.
The canoe stern will make it easy to row if you need to row to your dock or berth. The dipping lug sails are much easier to rig and control than the standard gaff rig.
The cabin is taller than some designers would allow, but it enables you to sit comfortably. There is room for 2 beds and clothes and food. FIRECREST is a roomy 15 footer. And yet it is a beautiful ship.

As the editor of UNDER TEN FEET, I look at plenty of boat plans. The 2-page study plans Selway-Fisher sent me are the clearest to understand of any plans I have.
They are number coded. One page has the scaled drawing of the rig and the explanation of the chine in the water. It includes a list of wood required. The other page is the construction plan with bulkheads, measurements, a profile and plan view.
I really like some of their own touches. The weighted rudder extension is something I’ve never seen before. The centerboard housing doesn’t intrude as much as it does in other 15 footers due to the keel housing.
The main sheet is not held by the rudder, as it is on some boats. Also, with the main boom extending over the stern, you’ll often be in the shade.
FIRECREST has some nice touches. The rudder has a drop section, deepening its grip in the water. Presumably this section of the rudder is weighted and pivoted to kick up when you beach the boat.
The dotted line is the size of the stern for a larger version of this boat. |
 |
FIRECREST also uses 400 pounds of water ballast. The relevant point about water ballast is your container has to be cleaned and sanitized to keep fungus and other growth out of it.
 |
This is the chine joint (click image to enlarge). You might consider shellac between layers of bottom planking. Harry Bryan wrote about this in Wooden Boat Magazine of February 2008. The materials are easy to get, easy to apply. |
Pictured to the right is the cabin bulkhead. You can see the cabin gets all the space there is to have. Usually the bunks take up plenty of space, so the way to take advantage of the wide cabin is to hang things from the sides. A fishnet basket hung from a hook works well.
The cabin front slants forward, which will help with windage. I would prefer a cabin top which tilts up rather than slides, to give a bit more room, light, and air. It can be put in an up position when you’re anchored and reading or preparing meals or making teenagers walk the plank |
 |
Light Schooner------------------
Philip Bolger
LOA 23’
Beam 5’
Sail Area 204’
This schooner is a long skiff designed along the lines of SURF, JUNE BUG and other Bolger flat-bottomed boats. The sides and bottom are long, slender, and smooth. No V-bottom, no keel, no through bolting, but a clipper bow and lifting stern. 
click image above to enlarge
I have not built this boat so I’ll defer to a higher power, Dynamite Payson. He wrote about Light Schooner in his book, Build the New Instant Boats. I will quote him briefly:
Philip Bolger’s four sheets of drawings are quite detailed with critical items or areas keyed by number to a list of explanatory descriptions..To build her hull sides, bulkheads, and decks you need at least six sheets of plywood—seven if you don’t take scrupulous pains to utilize every square inch.
Chances are you will not find 2x4s long enough for the chine logs and gunwales of a craft of this length. I would use 16 footers and scarf them to the required length with a simple tapered glue joint, letting the joints in both the gunwales and chine logs fall where they may on the hull.
If you choose to construct a double bottom from 1/4 inch plywood, you should stagger the joints of the individual sheets by about 6 inches.
Now what really makes Light Schooner look like it should are the masts, spars and sails. The masts and spars are on one sheet of the plans, with rigging details. I would make the masts and spars before the hull. I do this so that when the hull is done, the boat is done and I’m ready to sail.

At the end of the section in Build the New Instant Boats, Dynamite has a long section on making the masts and spars. It is detailed and practical, as always. These are unstayed masts, so they can be thick. The plans specify 3 ½ inches. I would taper the top first, so if anything goes wrong you don’t have to change the mast step, too. Then if all goes well, you can taper the bottom. I’d also do the masts first, then the spars since they are lighter and slender.
The key to a gaff rig is keeping the luff stretched. The boom jaws and vang need a patient job. I like the way the mast loops don’t draw the sail’s edge so tight to the mast that it’s hard to raise and lower. Aloft at the peak, the peak halyard and parrel arrangement are as simple as can be.

click image above to enlarge |
The daggerboard and long rudder should be laminated, as they’ll need to be strong. This is a decked boat with floorboards, both of which contribute to its balanced weight. The decking forms two cockpits for camp sleeping, and the daggerboard case fastening. Keep in mind the deck and floorboards are an essential part of the balance. After all this is a skiff, so balancing it under a press of sail means building it as drawn. |
This schooner is fast. Mr. Bolger says ‘reaching in a fresh breeze with not too much sea, with four or five people on the rail to hold her up, she will pass anything but a C-cat.’ For that reason, the decks are fastened to the topsides with an outside chine, as you can see. I would extend the deck two inches further, to keep myself dry.
Usually the question of sailing a schooner toward the wind comes up. These sails have been designed tall and narrow to improve windward performance. What seems to enable LIGHT SCHOONER to move toward the wind are the two boards below the hull, the daggerboard and the rudder. They are long and narrow enough so they don’t build up resistance on the lee side, but only grip. If they were wider at the bottom, the water might swirl. If you look at GYPSY you can see the daggerboard angled. This may be because GYPSY has more wetted surface amidships with its greater flare.
LIGHT SCHOONER is a great text on schooners and the elements of design. It is a classic skiff at 23 feet. It is a great lesson in the simplest version of gaff rigs. It is a great lesson in sail shape and proportions. And the gaff jaws, clipper bow, and trail board give you the chance to learn finer hand work.
I think a hand-carved stern nameplate would make an awesome addition to this traditional schooner.
Florence Oakland-----------------
John Atkin
LOA 22’6”
Beam 7’5”
Sail area 297 square feet
Many years ago Jacob Hess asked John Atkin to design him a small, trailerable schooner. He gave John a sketch, and then discussions followed. This is the result.
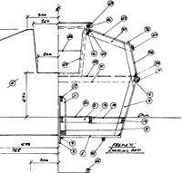
FLORENCE OAKLAND is a schooner which comes out of the 1900s. Look at these worthy lines. Topping lifts, stays, reef lines, blocks, gaff jaws, metal collars, peak halyards, throat halyards, and mast stays. The jib has a club foot which is self-tending and the bowsprit has its own bobstay.
John called this a ‘little packet,’ and it surely is.

You can see immediately John Atkin drew beautiful lines as he did for all the Atkin schooners. The old style lifts, the spacing of the sails, the angle of the gaffs, the size of the jib, it all looks so right. For all the reputation of New Englanders of being stern, no-nonsense fellows John Atkin never lost the boy’s dream of boats.
When schooners were big with cargo, high masts and volumes of sail, they had momentum to the wind. In contrast FLORENCE OAKLAND was designed for enjoyable boating. It is shallow of draft. The topsides forward are more vertical than the other Atkin schooners. And it has one headsail. This means it was meant for enjoyable times. It is a lake boat.

The original cabin was small, to provide for a long comfortable cockpit. This puts the mainmast in the center of the cockpit, creating plenty of shade in the summer.
John said of her, ‘She handles nicely, much like a little ship. Not conceived for offshore work, she is entirely capable in waters such as those of Long Island Sound.’ I imagine John tried to make every design of his a little ship.
 |
Notice the last two lines before the stern. They have a slight curve. Don’t compromise this. I can only surmise John put these in to lift the stern. FLORENCE OAKLAND is well-known for its impeccable balance. |
*** |