T3 click here to read or make an observation about this  article
By Steve Bosquette - New Jersey - USA

Editors Note: Steve Bosquette built this boat last year and shared the project with us in his article "Voyage to Recovery". He then gave us more information about the boat in his report on the "Kingston Messabout 2005". Several people asked Steve for plans and now he has made the following available. Thanks, Steve.

BUILDING GUIDE

THE ORIGINAL BOAT WAS BUILT FROM 1/4 LUAN, 1 X 2 PINE, 3/4 PLYWOOD, ZINK #6 SCREWS, AND 3M QUICK CURE 5200 SEALANT/ADHESIVE. I WAS TRYING TO KEEP IT AS LIGHT AS POSSIBLE WHILE MAKING IT STRONG.

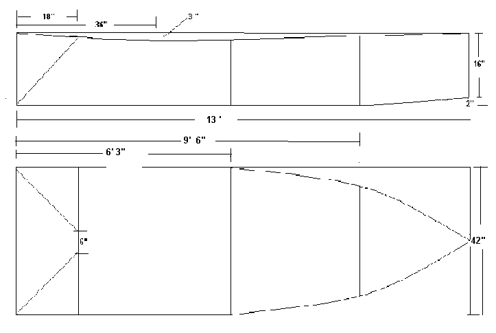
START BY CUTTING LUAN 16 INCHES WIDE BY 13 FEET LONG. (YOU COULD CUT IT 12 FEET LONG TO SAVE LUAN WHICH WOULD MAKE IT ABOUT 11 AND THREE QUARTERS FEET LONG)

click to enlarge
click image above for larger view

USING THE DIMENSIONS ON THE DRAWING LAY OUT AND CUT THE SHEER LINE FIRST AND THEN LAY OUT THE DRAKE TAIL ANGLE AFTER. THEN LAY OUT THE BOW RISE ABOUT 2 INCHES UP ON THE STEM, DRAW A LINE FROM ABOUT 36 INCHES BACK FROM THE STEM IN A GENTLE CURVE TO THE BOW.

RIP 1 X 2'S INTO 3/4 X 3/4 STRIPS. GLUE AND SCREW (ALWAYS COUNTERSINK FIRST) THE EXTERNAL CHINE LOGS AND THE SHEER LOGS FOLLOWING THE CURVES.

STAND THE SIDES UP ON EDGE BOTTOM UP. CUT THE TRANSOM (DOUBLE THICKNESS 3/4 PLY) 42 INCHES WIDE BY THE HEIGHT TO THE TOP OF THE DRAKE TAIL LINE, CUT THE TOP OF THE TRANSOM ACCORDING TO PERSONAL TASTE BEING SURE THE MOTOR IS DEEP ENOUGH BELOW THE BOTTOM OF THE BOAT. GLUE AND SCREW (USING 1 1/2 INCH SCREWS) THE SIDES TO THE TRANSOM. .

MEASURE ABOUT HALF WAY BACK FROM THE BOW AND INSTALL THE MIDSHIP FRAME. MAKING IT FROM 3/4 PLY IS RECOMMENDED. YOU WILL WANT 3/4 X 3/4 CLEATS TO FASTEN THE FRAME TO ON EACH SIDE. YOU WILL MAKE THE SEAT FASTENED TO THIS FRAME ABOUT 14 INCHES WIDE POSITIONED AFT OF THE FRAME.

FASTEN AND GLUE THE STEM TO ONE SIDE AND DRAW THE OTHER SIDE TO IT, GLUE AND FASTEN.

AT THIS POINT IT IS IMPORTANT TO SQUARE THE BOAT UP. MAKE SURE THE SIDES ARE STRAIGHT FROM THE STERN TO THE MIDSHIP FRAME AND USING A LONG STRAIGHTEDGE OR CHALK LINE, BE SURE THE CENTER OF THE STEM IS LINED UP WITH THE CENTER OF THE TRANSOM AND MIDSHIP FRAME.

LAY A SHEET OF LUAN ON THE BOTTOM FROM THE END OF THE DRAKE TAILS, CLAMP AND SCRIBE THE SHAPE ALONG THE SIDES. FOLLOWING THE DRAWING MARK THE CENTER OF THE TRANSOM THEN 6 INCHES ON THE SHEET AND DRAW THE LINES FROM THE POINTS OF THE DRAKE TAILS TO THAT MARK. THIS GIVES WIDTH FOR THE MOTOR SHAFT. REMOVE THE SHEET AND CUT. APPLY GENEROUS BEADS OF 5200 TO THE CHINE LOGS AND TRANSOM, INSTALL THE SHEET AND SCREW EVERY 3 INCHES OR SO.

USING SCRAP WOOD OR PLY MAKE A BUTT JOINT PLATE AND INSTALL ON THE FORWARD EDGE OF THE BOTTOM SHEET. LAY THE LAST SHEET ON AND SCRIBE ALONG THE SIDES AND STEM. REMOVE AND CUT. INSTALL THE FORWARD BOTTOM PIECE BE SURE TO SCREW THIS SHEET TO THE BUTT PLATE.

THE ORIGINAL BOAT HAD A CURVED DECK FORWARD WHICH IS OPTIONAL. YOU MAY WANT TO BUILD IN A SEAT FORWARD INSTEAD. THE CENTER SEAT AND THE BOW SEAT, IF INCLUDED SHOULD HAVE A BRACE UNDERNEATH.

I DID NOT FIBERGLASS THE BOAT, MAINLY TO KEEP THE WEIGHT DOWN. I DID RUN A BEAD OF 5200 ALONG THE INNER EDGE OF THE CHINE AND STEM AND AROUND THE EDGE OF THE TRANSOM FOR ADDED WATERPROOFING.

TIP THE BOAT ON IT'S SIDE. RUN A 1 X 3 THE LENGTH OF THE BOAT IN THE CENTER OF THE BOTTOM LIKE A KEELSON. GLUE AND SCREW THE PIECE IN PLACE. ADDITIONAL RUNNERS CAN BE ADDED THE SAME WAY AS NEEDED.

SAND THE EDGES OF THE BOTTOM SMOOTH, PUT A RADIUS ON THE CHINE LOGS AND USE A GOOD WOODFILLER TO FILL THE SCREW HOLES. APPLY 2 COATS OF A GOOD PRIMER, I LIKE BEHR 10 PLUS, THEN 2 COATS OF THE COLOR OF YOUR CHOICE INSIDE AND OUT. I LIKE MARINE PAINT LIKE INTERLUX OR PETIT.

INSTALL OARLOCKS AND CLEATS AND OTHER HARDWARE AS NEEDED.

Articles by Steve Bosquette:

Email this page to a friend