NEW
  HOME
  INPUT
  CONTESTS
  FORUM
  STORE

 


BOATBUILDING WITH A DIFFERENCE VIII
(For Aspiring Amateurs)
By
Barend Migchelsen
(Click here for Barend's book page)

A Laser-type Car Topper

In Montreal, the yearly Boat Show is held early in the year.

Notwithstanding knowing better, every year I still go there with the (very vague) hope of seeing something with more character than the usual assortment of plastic toys and aluminum cans. And always, without fail, there is some fiberglass contraption that is hailed as “the boat of the year”, a “breakthrough”, or whatever nice superlative they can think of.

Usually, there is not much new to it, and you never hear or see more of it after the show.

Over all these years, I have seen only three exceptions that survived their 15-minutes-of-being-famous. They are here to stay. The three boats are: the Optimist Pram which has proven itself as an excellent sail-trainer, the Hobie Cat 16 Catamaran with the asymmetric hull sides for sophistic sailers, and last but not least, the Lasers.

I am not sure if the total number of Lasers all around the world already passed one million. But if not, they should be close to it. That is more than any other type of boat ever sold.

What makes this 13-foot 10-inch wet-sailer so attractive is it’s simplicity -- achieved without giving up any of the finishing touches like the boom vang and the Cunningham tackle on a high ratio mainsail that fits with a sleeve on a round mast. No halyard with pulleys, sail track, or mast groove is necessary.

The hull itself is very flat, not more than twelve inches, without a skeg. The bottom is round with very little rocker. The boat is fast, can turn on a dime, and planes easily. An exciting toy for teenagers to play tic-tac-toe. The mast consists of two parts. That, and a longitudinal-slightly-concave, flat, wide deck without any extruding edges make car topping easy.

There is only one “but” with this one-design, state-of-the-art sailing machine: In Canada, the price is close to Can$7000. ($6995) With the 15.56 percent sales tax added that becomes more than Can$8000 (year 2002 catalogue price)! Now, if for that amount you could sail all year around for 24 hours, 7 days a week, you could probably get your monies’ worth of fun out of it in a couple of years.

But in a country where the leisure boating season for wet-sailers lasts only two months, that would take a very long time.

Although I don’t consider myself poor, I think that I am not the only one who is not willing to pay that amount for just a leisure pastime.

That left me with only one choice: If it is possible to modify this set of plans of THE SYSTEM shown in figure 1 into a set of plans of a hull with Laser qualities as shown in figure 2, then it would be possible to build an experimental boat for less than Can$400. That amounts to only 5 percent of the other cost outlay. After milling that over for a couple of days, it became a very attractive idea.

Figure 1

Figure 2

Well, the modifications in Profile and Half-Breadth drawings are easy. But the compound curves of the bottom in Body view are difficult to copy for plywood. The best that can be done is illustrated in figure 3.

Figure 3

In the drawing are the following changes

1. The side panels are cut off level with the deck.
2. The width of the side panels at Beam is reduced to 9".
3. Across, the bottom is rounded. The bottom camber at Beam is 2.875" (2 7/8)".
4. The camber is constant over the whole length of the bottom.
5. Longitudinally, the bottom centerline is a straight line to prevent compounded curves in the plywood bottom panel.
6. The vertical transom is 10.25" at the center of its crown. The frames become ¼" higher per station toward fore. At station #2 the height of the frame is 12.75". At dead center at station BAC, the distance between deck and bottom is 12.9".
7. The decks beside the cockpit are widened to 12".
8. A dagger board replaces the centerboard.
9. The deck fore is made longer to behind the dagger board box.
10. The deck aft is 24" long.
11. There are no coamings around the cockpit, just a finishing edge.

Hull Construction
The method of construction is different. Build the hull from the deck up.

Deck

1. With the good side under, put a 4'x5' board of 1/8" Philippine mahogany aft against a 4'x7' board to make the 12' deck.
2. Temporary, secure the panels in this position longitudinally with two 1" slats 32" apart with ¼" screws with a round head.
3. Draw the longitudinal centerline on the panels, and the ten station lines at 12" intervals.
4. Plot the deck contour line with the measurements shown in figure 3.
5. Where possible, at a distance of ½", draw a second contour line outside of the first line.
6. Cut off the excess outside of the second line.
7. From a piece of scrap wood, make a right triangle with legs 12" and 5". Place the short leg on the table of the table saw. Set the blade at 22.62º against the hypotenuse of the template.
8. Rib a 13' batten of 1"x2" finished lumber of knotless pine, or spruce at the angle of 22.62º. Check that the two battens are perfectly equal. If not, take the thinnest batten. Adjust the guide against it. Run the other slat through for a second time.
9. Soak the battens for 24 hours in water in a 4" ID plastic rain pipe, 14' long, and closed off with a cap on one end.
10. With the beveled side on the outside, clamp the wet battens along the inside of the first deck contour line. Work slowly and precisely. See figure 4. At station #8, keep the battens 1/8" inside of the plotted sheer line to allow for the bevel of the sheer line deck edge.
11. At the bow, cut the first clamped batten flush with the opposite sheer line. Miter the second batten against it in a tight fit. Do not cut the overlapping ends at the stern yet.
12. If the battens are too stiff for the bending onto the deck, let them dry first. Make small partial kerfs 3", or 4" apart. Soak them again, and clamp them onto the deck.
13. After they have dried overnight, glue them onto the deck with plastic resin glue. See figure 4, and the photograph.

Figure 4 Inwales glued onto the deck

14. With a utility knife remove the ½" excess outside the glued-on inwales. Hold the knife against the beveled battens. To prevent tearing into the grain, start at Beam, work towards the bow and the stern. Make sure to cut at bevel angle without cutting into the inwales. Make the first cuts very lightly.
15. Cut the hole for the mast, the slot for the dagger board, and the cockpit opening.
16. Cut off the overlap of the inwales at the stern 1/8" fore of the end of the deck. See the photograph.

Cross Frames

1. Make 1/8"-wide cuts into the inwales fore of and against the station lines #2, #4, and #6. Be careful not to cut into the deck. See the photograph.
2. Make the same cuts in the inwales aft of and against the station lines #8 and #10.

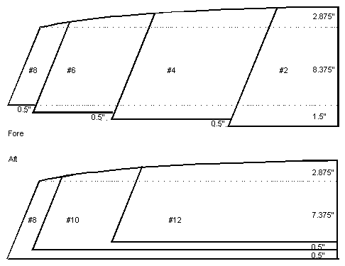
The cross frames are made from 1/8" Philippine mahogany. Start with frame #8.

1. Cut a rectangular panel of 14"x50". Draw a vertical middle line on the panel.
2. Place the panel into the inwale cuts at station #8. Line up the vertical middle line of the panel with the centerline on the deck.
3. Mark the exact width of the panel at the sheer lines of the deck.
4. Remove the panel. Draw the camber line of frame #8 on the panel as shown in figure 5. Cut out the panel.
5. Cut all the other panels in the same way by first marking their exact width while they are positioned in the inwale cuts on the deck. Take the bend of their crowns from the first cut panel #8. See figure 5

Take the sizes of the bevel angles of the sides of each frame directly from the deck when the width is measured.

Note that the crown line of each frame is lined up with the crown line of frame #8. Their exact heights are measured on the vertical middle line from the crown line down. That way the curve of the crown line is the same for all the frames.

Figure 5 Half-Body view of the cross frames.

Longitudinal Frame Fore

1. Make a 1/8"-wide cut in the inwales over the centerline at the bow.
2. Cut the longitudinal bow frame to the measurement of figure 6. Note that the highest point of the bottom (12.9") is at station BAC.
3. Place the frame between the tip of the bow (station #0) and frame #2.
4. Glue a piece of 1"x1" on the deck between the inwales and the frame at #2 station.
5. Glue a second piece of 1"x1" on the opposite vertical side of the bow frame.
6. Temporary, attach the bow frame to the 1"x1" on the deck with round headed, ¼" screws.
7. Place the cross frame #2 in the slots on the deck. Attach frame #2 in the same way to the vertical 1"x1" of the bow frame.

If the frames are lined up perfectly, both frames stand absolutely perpendicular on the deck, and perpendicular to each other. The sides of frame #2 are flush with the curve of the deck at the inwales.

Figure 6 Longitudinal bow frame

Longitudinal Frame Aft

The longitudinal frame aft is placed between the bulkhead at station #10 and the transom board at station #12. The measurements are taken directly from the setup. Cut out the middle of the frame to reduce weight. Check for a perfectly perpendicularity to the bulkhead, the transom and the deck. Attach the frame to the deck, the bulkhead, and the transom with pieces of 1"x1" just as the bow frame fore with temporary screws.

Dagger Board Box

Install the 18"-long dagger board box fore of the bulkhead at station #6. The dagger board box trunk aft is attached fore against that bulkhead. Use 1"x1" pieces of lumber to attack the box to the deck. The method of construction of the of the dagger board box is the same as the method of the building of the centerboard box of the skiff. The width of both boxes is the same also. The difference is that the bottom line of the skiff is curved. The bottom line of the car-topper is straight.

Mast Box

The mast box is set aft of the X-frame at station #4. The four walls of the box are made of 1"x1" plank. Inside the box is 3" wide. Close up the mast box with a cover of the same wood to protect the bottom. The photograph shows two frames, one, fore and one aft of the box. This extra frame aft of the mast box can be omitted. Instead, make the sides of the dagger board box long enough to anchor them onto the mast box.

The longitudinal frame between the X-frames at station #2 and station #4 seen in the photograph can also be left out. In that case, glue a piece of 1"x2" over the centerline onto the deck instead. The holes in the frames #2, and #4 can be made a lot bigger to reduce weight further, and allow for better air circulation. Make the holes in bulkheads at station #6, and #10 round. On the water, these holes are closed off airtight with conical plastic cups to create two flotation chambers. A longitudinal frame attached to the carlins and the bottom on each side of the cockpit between the bulkheads fore and aft will add two additional flotation chambers, making the hull practically unsinkable. Make round holes in these panels that can be closed off airtight also. When the boat is stored on land, the cups are removed for ventilation.

Bow Gussets

The bow gussets are ripped from 1"x1" lumber. They are glued on each side fore the longitudinal bow frame.

1. Miter two pieces of 1"x1" at the same angle as the bow angle of the longitudinal bow frame. See figure 6
2. Place the lumber against the frame on top of the inwale on the deck.
3. Mark the inwale line on the lumber.
4. Rip the lumber at this bevel angle.
5. Repeat this for the other side.

Chines

The first bevel of the chines is ripped from a 1"x2" in the same way as the sheers. The angle of the second bevel is equal to the angle between the side of X-frame #8 (Beam) and the bottom curve. It is taken from this frame.

Chine Notches

Making the notches for the chine battens is a precise job. Remove the temporary placed X-frames and bulkheads from the deck. The chine batten must fit perfectly flush with the sides, and the bottom line of the frames. The easiest way is to undercut the notches slightly and then file them to the exact size.

Cut off a small piece from the chine batten. Use it to check the correct size of the notches.

Placing the Chines

1. Glue all the prefabricated parts onto the deck. Double-check that they are all perfectly perpendicular to the deck, and to each other. Be finicky about this!
2. Secure the dagger board and the mast foot box extra with stainless steel screws to their trunks and the frames.
3. Line the transom frame #12 fore, and the bulkhead #10 aft with a piece of 1"x1" along the bottom curve on each side of the longitudinal frame.
4. Do the same with bulkhead #6 fore on each side of the dagger board box, and with the X-frame #4 aft besides the mast foot box.
5. Place a perfectly straight 1"x2" batten on its narrow side over the frames on the centerline. Check is the frames heights are correct. Correct small mistakes.
6. When you are satisfied with the lineup of the setup, place the chine battens in the notches. Glue them against the frames and their linings.
7. Check for any humps, and/or hollows in the chine line. Correct small discrepancies.
8. Make a 1/8"-wide, and 2"-long vertical saw cut into the Beam frame #8 on each side beside and against the chine battens on the cockpit side. These starter cuts make it easy later to remove the middle part of the frame that blocks the cockpit.

Carlins


Attach the 1"x1" carlins onto the longitudinal sides of the cockpit between the bulkheads #6 and #10.

Optional Extra Flotation Chambers

Install the vertical walls of the extra chambers against the carlins and the bulkhead. The bottom edge is flush with the bottom curve of the bulkheads to which they are attached with vertical pieces of 1"x1". Line the bottom side of the panel inside also with 1"x1". Sand the 1"x1"s flush with the bottom curvature.

For ventilation, cut two round holes in each panel as shown in the photograph in bulkhead #10.

Side Panels

Each side panel is made up from two boards: a 16"x 96" (8') board aft and a 21"x60" (5') board fore. The board aft is lined up with the transom. That places the 4" wide joint of the board between stations #5 and #4.

Installation of the Side Panels

1. Cut a 4"x 16" butt strip of 1/8" Lauan.
2. Cut 4"-wide, 1/8"-deep notches into the chines and the inwales in the middle between station #4 and #5. Make sure not to cut into the deck.
3. Place the butt strips into the notches. Cut them flush with the chines at the bottom side. Make sure that they blend completely and perfectly fair with the chine and the deck lines. Draw the vertical middle line on the strips.
4. Attach temporarily 4.5' of 1"x1" under the deck at station #8 (Beam). The 1"x1" protrudes 3" on each side of the deck.
5. Place the aft panel on the protruding part of the 1"x1". Place a C-clamp on the lumber against the panel to hold the board firmly against the setup, but can still be moved.
6. Attach the panels against the inwales and the chines with temporary screws at the stations from aft toward fore.
7. Mark the location of the vertical middle line of the joint strip on the side panel. Cut off the excess of the side panel with a utility knife. It is not necessary to take off the panel from the setup. Just hold a piece of scrap Lauan under it to protect the strip while you make the cut.
8. Draw a pencil line along the chines and the deck on the side panel board. Cut off the excess above the chine and under the deck. It can be done on the setup with a snap-off utility knife by extending the blade as far as possible. Work slowly, away from the grain. Put hardly any pressure on the first couple of strokes. The best tools for this kind of a job are a veneer saw, or a Japanese flush-cutting saw. A second way is to take off the panel and cut along the lines with a jigsaw set at the flare angle. Take your time. Aim for a perfectly fair line. Correct small discrepancies with a file, or sandpaper.
9. For attaching the side panel board fore, you need a helper to hold the board against the panel aft at the joint between stations #4 and #5 while you align the height of the panel, and place the temporary screws at the joint. Again place the next screws by working from aft to fore.
10. Draw the lines and cut off the excess above the chine line, under the deck, and fore of the stem.
11. Once you are satisfied with perfectly cut and placed panels, tape the top edges of the chines with masking tape to prevent spilled glue spots on these battens.
12. Glue the panels with plastic resin to the chines, the inwales, the butt strip and the X-frames. Use roundhead screws at regular interval where it is not possible to use clamps. To prevent dents, use cardboard washers between the screw heads and the wood.
13. When the glue has dried, remove the screws; overfill the holes with wood filler. When dry, remove the excess with fine sandpaper. Remove the masking tape from the chines.

Bottom

The bottom is made up from two boards. The first board is 8' long. One edge is lined up with the heel of the stem. The other edge comes to nearly 5" aft of station #9. The second panel is jointed to the first panel with a 4"-wide butt strip also.

Installation of the Bottom Panels

1. Place the 4'x8' panel on top of the setup. Align the front edge with the heel of the bow stem. Hold the panel in place with a temporary roundhead screw.
Make sure that the longitudinal middle line of the board is lined up with the centerline of the hull.
2. Mark the place of the panel edge aft on the chines. Remove the panel and make 4"-wide, 1/8"-deep notches in the chines, 2" on each side of the mark. Make sure not to cut into the side panels.
3. Replace the bottom panel. Over the middle line, attach the board with the temporary screws with the cardboard washers to the frames. Work from fore toward aft.
4. Attach the bottom panel to the chines with the temporary screws. Do not attached one side completely to the chines first and then the other side, but work both sides from fore to aft.
5. Draw the bottom contour line on the underside of the panel. Cut off the excess in the same way as was described for the side panels.
6. Cut a 4"-wide strip of 1/8" Lauan that fits exactly into the cut notches when it is given the bend of the bottom curve.
7. Draw a longitudinal middle line over this joint strip. Put resin glue on the side fore of the line. Clamp the strip under the bottom panel. Let the glue dry. The joint line is approximately 4.75" aft of station #9 (station line #9 + 4.75").
8. Place a 3'-long board aft against the bottom panel fore. Attach and glue it in the same way to the frames, the chines and the transom. Work from fore toward aft. To hold the panel tightly to the joint strip, use the round-headed temporary screws with the cardboard washers while the glue dries. Cut off the excess.

Staggering

Note that the deck joints are in the narrow parts of the deck. The joints in the side panels and the bottom are staggered away from the deck joints as far as the material permits.

Transom Reinforcement

Cover the transom with an additional panel of 1/8" Lauan that overlaps all the seams with the deck, the side panels, and the bottom by 1". Cut off the excess.

Sealing the Seams and the Joints

Seal all the seams and the joints with Buckram tape and resin glue (urea formaldehyde).

Finishing

Glue in the 1/8"x1" bottom slats

Painting the Hull

Paint the hull with the colours of your choice, but make sure that they are highly visible. The secret of a good paint job is not in the use of expensive marine paints, but in careful preparation.

To prevent eye glare, use a flat paint on the topsides.
Use non-skid porch paint on the bottom inside the cockpit.

Rudder

The rudder for the car-topper is a kick-up rudder.

Gunwales

Rip the gunwales at a flare angle from a 13' - 1"x2" batten. Plain varnish them, or paint them in a contrasting, bright colour. Screw them to the hull after the hull is painted

Trial Rigging

Before you spend a lot of money on rigging, make a mast from a 12'-2"-ID PVC pipe with a 12' - 2"x2" slat stuck inside the pipe. Make a lugsail, from a 10'x12' polyethylene tarpaulin. With this trial rig you will find out how the boat performs

Total costs

Without skimping on the hardware and the fittings you will stay within your budget of Can$400. For this bargain, I got three times as much fun than from buying a real Laser: First, the fun of building the boat, second, the pleasure of sailing the boat, and thirdly, the fun of “laughing-all-the-way-to-the-bank” by saving myself 95% of the costs. Not a bad deal IMHO.

Barend Migchelsen

(Click here to go to Barend's book page)